Невская ограда Летнего сада является памятником мирового значения и по праву считается шедевром русского классицизма XVIII века [1].
Строительство ограды осуществлено с 1771 по 1784 годы. Затем в отдельные периоды XIX - XX столетий были выполнены: частичное видоизменение ограды (1830 г) возведение часовни, перемещение ворот и ремонт ограды (1866 – 1867 гг), снос часовни и реставрация ворот (1931 г) и незначительная реставрация решетки (1950-е годы). В 1968-1970 годы была выполнена техническая экспертиза состояния ограды и ее фундамента. По ее результатам в 1978-1981 произведен ремонт, в основном косметический, наземной части ограды. Выборочные геодезические измерения отметок верха цокольных блоков и плановых положений колонн ограды были выполнены в 1966 и 1982 гг. Сопоставление данных наблюдений уже тогда свидетельствовало о нарастании абсолютных величин осадок отдельных колонн.
Большой комплекс работ, включающий топографическую съемку прилегающей к ограде территории, геодезические измерения перемещений элементов ограды, инженерно-геологические изыскания и обследование ее фундамента, был выполнен в 1996 г НПО “Ранд” (директор – к.т.н. Николаенко Ю.И.) по заданию КГИОПа Администрации Санкт-Петербурга [2].
По данным измерений гранитный цоколь ограды длиной 230 м, включающий 36 блоков под колонны и 99 рядовых блоков, имеет ряд участков со значительными вертикальными и горизонтальными перемещениями. Максимальную абсолютную отметку поверхности +4,17 м (Б.С.) имеют цокольные блоки колонн №20 и №23 (нумерация колонн принята от Лебяжьей канавки к реке Фонтанке). Относительно этой отметки участки значительных осадок фундамента и соответственно цокольных блоков имеются в районе колонн №2-7 (Smax = 27см), №16-20 (Smax = 18см), №23-30 (Smax = 27см) и №31-36 (Smax = 23см). Относительная разность осадок на отдельных участках достигает значения D S/L = 0,085. При этом, если в период с 1966г по 1982г рост осадок составил » 8%, то в период с 1982 по 1996 гг осадки возросли в среднем на 10%, т.е. стабилизации осадок не произошло. На участках с большими осадками выявлены перекосы цокольных блоков, а продольная ось цоколя в плане имеет отклонения от прямой до ± 10 см. Более половины колонн отклонились от вертикали, наклон (крен) некоторых из них достигает i = 0,035, что многократно превышает предельно допустимый наклон iu для сооружений любого класса. В результате кованная металлическая решетка в местах наибольших осадок цоколя оказалась изогнутой, а отдельные стержни искривлены и имеют трещины.
По данным изысканий [2] основание ограды состоит из насыпного грунта (слой 1) мощностью 2,6 м, песка (слой 2) мощностью 2,2-2,6 м и супеси пластичной консистенции (слой3). Песок слоя 2 изменяется от крупнозернистого в основании краевых частей ограды до средне- и мелкозернистого в центральной части.
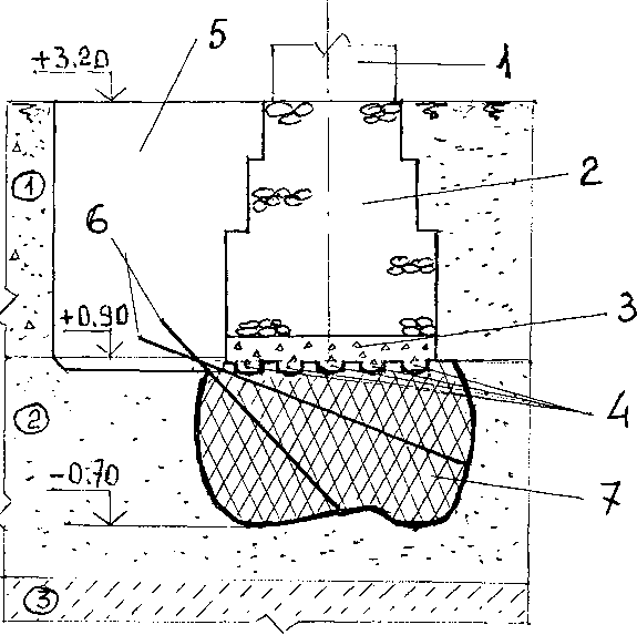
Ленточный бутовый фундамент имеет высоту 2,3 м, ширину подошвы – 2 м и первоначально опирался на свайное основание (рис.1). В поперечном сечении фундамента сваи d » 20 см длиной 4-5 м размещены в 5 рядов при чередовании в соседних рядах. В каждом ряду шаг свай составляет » 1,3 м, расстояние между рядами 0,4 м. Ростверк выполнен из деревянных брусьев сечением 25х25 см, которые укладывались на головы свай в продольном и поперечном направлениях, а “окна” между брусьями заполнялись смесью песка, битого кирпича и камня на известковом растворе. Общая высота плиты ростверка » 0,5 м

Рис. 1. Поперечный разрез фундамента Невской ограды Летнего сада.
1 – цокольный блок; 2 – бутовый ленточный фундамент; 3,4 – поперечные и продольные брусья свайного фундамента; 5 – сваи;
1..3 – слои грунтов.
Детальным обследованием из шурфов установлено, что из-за периодических колебаний уровня грунтовых вод, деревянные брусья и верхние участки свай на длине 60-70 см полностью сгнили, что вообще является характерным для “старых” зданий центральной части Петербурга [3]. При этом на месте брусьев образовались полости круглого сечения диаметром 20-25 см, в большинстве своем еще мало или вовсе незаполненные грунтом. В то же время на месте сгнивших участков свай полости оказались замытыми грунтом. Таким образом, бутовый фундамент ограды оказался опирающимся только на грунт целиков между полостями. Уменьшение площади опирания фундамента составило » 60%, что дает увеличение среднего давления на грунт с 0,07 МПа до 0,19 МПа. Заметим, что для ленточного фундамента при b = 2м и d = 2,3м, опирающегося всей подошвой на среднезернистый песчаный грунт слоя 2, расчетное сопротивление R » 0,67 МПа, что существенно превосходит величину среднего давления p = 0,07 МПа [2]. Для случая фундамента, опирающегося на целики, расчетное сопротивление R не может использоваться в качестве характеристики основания с полостями.
В подземном строительстве прочность целиков часто приближенно оценивают по условию s z Ј Rc, где Rc – прочность породы на одноосное сжатие, s z – среднее вертикальное напряжение в целике. Наличие незакрытых полостей в основании ограды свидетельствует о том, что грунт целиков между этими полостями на момент обследований имел прочность Rc, сопоставимую с величиной 0,19 МПа. Наличие у грунта целиков столь высокой прочности, подтвержденное испытаниями образцов и пенетрацией целиков , объясняется тем, что грунтовая смесь, заполнявшая “окна” между брусьями свайного ростверка и образующая целики, пропитывалась, как отмечено выше, известковым раствором.
Анализ состояния фундамента в зоне подъема уровня грунтовых вод показал, что идет процесс разрушения и вымывания водой известкового раствора. Этот же процесс происходит в целиках, что ведет к ослаблению прочности грунта, постепенному разрушению целиков и закрытию полостей. Неравномерность этого процесса во времени и в пространстве приводит к продолжающимся неравномерным осадкам фундамента ограды по ее длине.
При наличии в основании полостей, образующих систему ходов сосредоточенной фильтрации, к перечисленным добавляются фильтрационно-суффозионные процессы, вызванные колебаниями уровня воды в водоемах и изменениями горизонта грунтовых вод. Фильтрационными расчетами было показано [2], что при резких подъемах и спадах уровней воды в Неве полости работают как дрены, не имеющие защиты из обратных фильтров. В этом случае в основании формируются потоки с градиентами, вызывающими развитие процессов суффозии грунта основания с выносом его водой через полости в открытые водоемы. Особенно активно эти процессы проявляются на участках примыкания ограды к Фонтанке и Лебяжьей канавке. Именно на этих участках фундамент ограды имеет наибольшие осадки.
На основе анализа процессов в основании фундамента, обуславливающих его осадки, был предложен и обоснован комплекс первоочередных работ по усилению основания и фундамента Невской ограды [4,5]. В соответствии с возможностями финансирования в состав этих работ КГИОП включил: 1) заполнение (тампонирование) полостей цементно-песчаным раствором с одновременной цементацией нижней части фундамента; 2) закрепление грунтов основания под участками фундамента в зоне опирания колонн ограды. Разработка проекта и выполнение работ на конкурсной основе осуществлялись НПО “Ранд”.

Рис. 2. Схема силикатизации грунта основания фундамента ограды (сваи не показаны).
1,2 – цокольный блок и ленточный фундамент; 3,4 – затампонированные полости; 5 – шурф;
6 – инъектора; 7 – закрепленный массив;
1..3 – слои грунтов.
При тампонаже полостей был принят вариант инъекции раствора в поперечные полости из шурфов, которые проходили у фундаментов колонн со стороны Летнего сада (рис.2). При инъекции раствора из “нагнетательного” шурфа у iой колонны (i = 2,4,6 и т.д.) шурфы у (i-1)ой и (i+1)ой колонн в это время использовались в качестве наблюдательных для контроля за распространением раствора по продольным (вдоль фундамента) полостям и поступлением его в поперечные полости, вскрытые “наблюдательными” шурфами. В “нагнетательном” шурфе устанавливался опалубочный щит с вмонтированным в него инъектором. Щит закрывал вход в поперечную полость, а инъектор входил в эту полость по ее оси. Плотное прижатие щита к стенке фундамента и шурфа обеспечивалось домкратами.
Приготовление тампонажного раствора осуществлялось в смесителе СО-242 при подаче из него готового замеса в инъектор давлением сжатого воздуха. Применялся водо-цементно-песчаный раствор при соотношении составляющих – цемент: песок: вода, изменявшемся в процессе инъекции от 1:3:2 до
1:1,5:0,8. Для увеличения подвижности в раствор добавлялся пластификатор СДБ-0,5% от массы цемента. Перед началом инъекции участка от (i-1)ой до (i+1)ой колонн оценивались размеры и общий объем полостей на этом участке, что позволяло контролировать объем поглощения раствора. При необходимости дополнительная инъекция осуществлялась из “наблюдательных” шурфов. В среднем по участкам ограды объем поглощенного раствора составил » 6м3, изменяясь в отдельных случаях от 4,2 до 7,8 м3.
Вслед за цементацией полостей с разрывом не менее 1 месяца были начаты работы по закреплению песчаного грунта слоя 2 под фундаментом ограды. По результатам лабораторных исследований был принят способ однорастворной силикатизации с использованием сложного раствора жидкого стекла (ЖС) с отвердителем (О) [5]. Раствор получался смешиванием водного раствора жидкого стекла (силикат натрия – Na2OЧ nSiO2) плотностью 1,3 г/см3 и водного раствора отвердителя – кремнефтористого водорода (Н2SiF6) плотностью 1,1 г/см3 в соотношении ЖС:О = 8:1, обеспечивающем начало гелеобразования через » 2 часа от момента смешивания.
Для силикатизации грунта под фундаментом колонны в основание из шурфа погружались 4 инъектора – по 2 в каждом из двух поперечных сечений, принятых на расстоянии 40 см от левого и правого краев цокольного блока колонны. При этом в плоскости поперечного сечения 2 инъектора имеют наклон 45° , 2 других – 20° к горизонту (рис.2). Глубина погружения инъектора назначалась из условия образования массива закрепленного грунта с нижней границей на отметке – (0,60…0,70) м, т.е. ниже наблюдавшегося наинизшего горизонта грунтовых вод. Погружение инъекторов из шурфов (а не с поверхности земли) позволило оперативно контролировать процесс инъекции раствора, фиксировать его потери при выходах в шурф и быстро устранять их. Подача раствора осуществлялась одновременно в 4 инъектора давлением сжатого воздуха, которое поддерживалось равным 0,2 МПа, иногда в конце периода нагнетания поднималось до 0,4 МПа. Инъекция раствора в грунт продолжалась до отказа его поглощения. Для основания большинства колонн отказ поглощения наступал после подачи » 0,6 м3 раствора, для колонн №17-25 – после подачи » 1,2 м3, а в основание колонны №3 потребовалось закачать 1,6 м3 силикатного раствора. При таких объемах поглощения вокруг инъектора формируется массив закрепленного грунта объемом 0,5…1,3 м3, что эквивалентно образованию цилиндра радиусом » 0,3…0,5 м при высоте 1,5 м.
Для контроля качества закрепления были отобраны образцы силикатизированного грунта из оснований ряда колонн и выполнены их испытания на одноосное сжатие в соответствие с действующими нормами [5]. Средняя для 6 образцов прочность на сжатие составила Rc = 0,3 МПа при частных значениях от 0,28 до 0,33 МПа, что значительно превышает давление р = 0,07 МПа фундамента на основание при затампонированных полостях. Поскольку затвердевший силикатный гель не растворяется в воде, то помимо увеличения прочности грунта, силикатизацией обеспечена суффозионная устойчивость грунта при изменениях фильтрационного режима грунтовой воды.
Следует заметить, что в подобных грунтовых условиях применение карбамидной смолы вместо силикатного раствора позволило бы получить, как это показал весьма успешный опыт усиления основания Мариинского (Кировского) театра [6], более высокую прочность закрепленного грунта. Однако нет необходимости в большой прочности грунта для основания ограды и к тому же способ карбамидной смолы является весьма дорогим и на сегодня менее экологически чистым, чем принятый способ силикатизации, что определило применение последнего.
Весь комплекс работ по цементации полостей и силикатизации грунта основания фундамента Невской ограды был выполнен в период с декабря 1997 по октябрь 1998 г. С марта 1998 г НПО “Ранд” осуществляет последовательное выправление положения цокольных блоков и колонн ограды, получивших указанные выше большие смещения.
Для подъема колонн и изменения их положения использовалась изготовленная НПО “Ранд” специальная установка, обеспечивающая безопасную и щадящую технологию перемещения гранитных колонн. Установка (фото 1) представляет собой оригинальную металлическую пространственную трубчатостержневую конструкцию с двумя кольцевыми захватами, охватывающими колонну у нижнего и верхнего ее торцов. Каждый захват состоит из двух полуколец, для их соединения при помощи болтов полукольца имеют приваренные фланцы. Болтовое соединение полуколец позволяет регулировать степень обжатия колонн захватом. Чтобы исключить возможность повреждения гранитных колонн металлом захвата, обжимающее радиальное давление от захвата передается через деревянную прокладку. Кольцевые захваты системой стержней и труб соединяются между собой и с 4-мя опорными ногами установки.
Вертикальные опорные ноги выполнены телескопическими – каждая трубчатая нога входит в короткую трубу опорного башмака, опирающегося на грунт через уширенную пяту. К трубам ног выше обреза трубы башмака приварены горизонтальные косынки, при передаче на которые усилий от домкратов обеспечивается подъем опорных ног установки относительно неподвижных опорных башмаков. В результате происходит необходимое перемещение (подъем) захватов вместе с колонной. Применение гидравлических домкратов позволяет выполнять весьма медленное и плавное перемещение (подъем) колонны, в том числе и с изменением ее наклона. Для удержания поднятой колонны в определенном достигнутом высотном положении в течение длительного времени в установке наряду с гидравлическими используются винтовые домкраты.
Подъем каждого цокольного блока выполнялся с помощью специального приспособления 4 гидродомкратами, размещенными попарно с каждой стороны ограды (фото 2). Передача от домкрата вертикального усилия на поднимаемый блок осуществлялась с помощью металлических замкнутых рам (обычно двух), охватывающих блок в поперечных сечениях. Нижние стержни рам размещались непосредственно под подошвой блока в специально пробитых отверстиях в кладке фундамента. К вертикальным стержням рам были приварены косынки-площадки для упора в них домкратов, создающих усилие для подъема.
Поднятые в проектное положение блоки фиксировались в этом положении специальными подкладками. Образовавшаяся щель между подошвой блоков и обрезом фундамента заполнялась цементно-песчаным раствором.
По утвержденному КГИОПом варианту положения верха цокольных блоков ограды подъему подлежат 19 колонн (№3-6,14,15,17,18,22,24-29, 32-35), цокольные блоки этих колонн и блоки в пролетах между ними. К 1 сентября 1999г выполнен подъем и выправление положения колонн №3-6, 32-35 и соответствующих цокольных блоков ограды. Все работы по реконструкции ограды предполагается завершить в 1999г.
Геодезическими замерами, выполнявшимися после усиления основания и фундамента по состоянию на 1.04.99 и 1.09.99, новых осадок и смещений Невской ограды Летнего сада не зафиксировано.
Список литературы.